超细粉体清洁化包装机的方案设计

周 丹,夏如飞,李 淦,姜 也,史家忻,王利强,卢立新

(江南大学机械工程学院,江苏无锡214100)

摘要:针对目前国内超细粉包装过程中粉尘飞扬、 效率低、 物料浪费严重和包装精度低等问题,提出一种超细粉体清洁化阀口袋包装机设计方案。 设计一种单工位双螺杆机构,结合负压抽气、 充填口膨胀气囊等辅助机构,实现了超细粉阀口袋充填过程的清洁化; 对取袋、 上袋、 袋传送、 袋口封合机构进行设计,并通过三维实体软件进行实体建模,构建了超细粉自动化包装的整体方案,实现了超细粉的自动化包装,提高超细粉包装系统的整体效率。

关键词:超细粉;双螺杆;阀口袋;清洁化

粉体包装机是用途广泛的包装机械,不断呈现智能化和自动化的发展趋势。超细粉作为一种粒径极小的粉末颗粒,生产成本较高。目前国内市场上比较常见的超细粉的包装方法,一种是传统式的手工包装; 另一种是直接利用颗粒料或者普通粉料包装机进行半手工或全自动包装,2种包装方法的包装精度皆难以满足市场需求。 超细粉易侵入人体肺部,造成人体肺部中毒,引发相关肺部疾病, 如肺炎、 矽肺、 肺癌等,粉尘飞扬的包装车间不仅对作业工人的身体健康造成巨大威胁,而且混乱的包装环境对超细粉体亦容易造成污染,对其后续应用生产线将造成难以预计的后果。 国外的超细粉包装机产业机械化程度较高,包装精度高于国内。 德国的Haver Boecker公司采用气吹式给料高压灌装方式的阀口袋全自动包装机,代表了目前世界的先进水平,但其成本高昂,且对粉料制造工艺与包装袋质量

要求苛刻,国内生产的超细粉及包装袋无法满足国外机器的要求,因此,亟待开发一套适用于超细粉包装的高精度清洁化包装设备。本研究的目的是,针对目前国内市场超细粉的性质和包装工艺及其包装设备的需求,完成超细粉自动化清洁化包装整体方案设计,同时为国内与超细粉体相关包装机械研究提供应用经验和技术参考。

1 超细粉包装工艺方案

1.1 超细粉包装形式的确定

目前,在粉体充填领域,常用的包装形式主要为敞口袋和阀口袋。敞口袋是一个底部封闭,另一端为开口的直筒包装袋。包装的产品在自重的作用下充填入袋,采用人工半自动方式或其它方式进行封合。一般来说,敞口袋包装技术含量相对较低。阀口袋是全球最为流行的一种包装形式,通过阀口进料,采用专业充填装备,充填完成后成方体,堆码整齐,而且属于环保袋。一般来说,阀口袋筒身内部覆膜,物料充填完成后阀口封合,所以密封性良好[1];其包装成品为方块形,便于进行码垛运输以及储存。2种包装袋的开口形式见图1。

a 敞口袋b 阀口袋图1 2种包装袋的开口形式Fig.1 Two types of openings for packaging bags

2种包装形式各有优缺点,相较于缝合敞口袋,阀口袋无需昂贵缝纫线,方便封合,成本较低。针对超细粉粒径小、含气量大、粉尘易飞扬等特点,选择阀口袋包装要优于敞口袋包装,综合各方面因素考虑,选用阀口袋作为超细粉包装形式。

1.2 包装工艺流程的分析和确定

基于超细粉的包装形式,分析粉体充填常用包装工艺流程,结合阀口袋的包装形式及超细粉粒径小、 含气量大、 粉尘易飞扬等物性[2],确定超细粉体清洁化自动化包装机作业主要工艺为:取袋上袋[3]、 充填计量、 传送封合,其工艺流程如图2所示。取袋上袋,从袋库中取出阀口袋并套入充填口;充填计量,实现对超细粉的精准化、清洁化充填计量;传送封合,将充填计量完成的阀口袋传送到封合工位完成阀口封合。

图2 粉料包装工艺流程图
Fig.2 Process flow chart of powder packaging

2 取袋上袋机构设计

2.1 取袋、开袋机构工艺路线

现行的取袋、 上袋工艺流程,一般为取袋、 张袋、 套袋、 充填[4],袋口与充填口的位置精确度要求高,不允许有变动,所以在包装机械行业中,大部分厂家仍采用手工套袋方式,取袋装置与充填机构中,结构分散不统一,不利于包装机自动化的提高,无法适应当今多变化的包装要求。

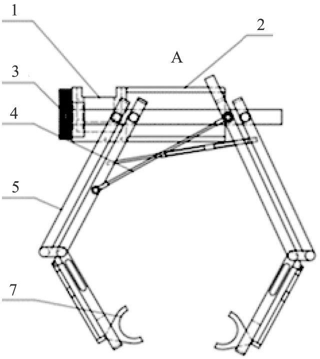
本设计中采用机械自动套袋的方式,当前的自动取袋上袋机中,多通过真空吸盘吸取袋体,再通过机械手夹取实现取袋、移袋动作。由于机械手结构相对复杂,在设计中避免了大量机械手结构设计,选择真空吸盘,从袋库中吸取阀口袋,再采用一个机械手组件配合完成移袋及开袋动作[5]

图3为阀口袋打开路线示意图,开启过程为: 1)预制阀口袋整齐堆码于袋库托盘之上; 2)真空吸盘通过气缸控制上、下平移,吸盘吸住阀口及其相连袋口,阀口袋被竖直拉起; 3)真空吸盘通过伺服模组向充填口运动; 4)在充填口,两侧抱夹机构将袋口向内挤压,打开袋口; 5)通过真空吸盘与抱夹的固定,将袋口套入充填口; 6)充填计量机构工作,物料开始充填,真空吸盘和抱夹释放阀口袋并回复原位置。

2.2 取袋、上袋机构

2.2.1 真空吸盘取袋结构

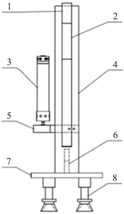
图4为真空吸盘取袋结构示意图,由轨道运动件、 轨道连接件、 气缸、 上下轨道、 气缸连接件、 加强筋板、 吸盘端盖、 吸盘组成。气缸通过轨道连接件与上下气缸连接,吸盘通过吸盘端盖与吸盘连接,整个机构的运动依靠气缸的运动[6]

图3 阀口袋打开路线示意图
Fig.3 Schematic diagram of valve pocket opening route

1—轨道运动件; 2—轨道连接件; 3—气缸; 4—上下轨道;
5—气缸连接件; 6—加强筋板; 7—吸盘端盖; 8—吸盘。
图4 真空吸盘取袋结构示意图
Fig.4 Schematic diagram of vacuum
suction cup bag taking

2.2.1 抱夹机构

堆码与袋库托盘的预制阀口袋袋口紧闭,吸盘能提取袋口却难以完全打开袋口,充填过程中也无法承重,所以需要抱夹机构打开并固定袋口[7]

图为5抱夹机构示意图,整个机构由电机、 联轴器、 传送带、 气动杆、 抱夹臂、 抱夹组成。其工作原理是,电机的动力依次通过联轴器、传送带传送至气动杆,通过气动杆的运动控制抱夹开合。当气动杆偏离水平角度最大时,两侧抱夹向中间靠拢,将阀口袋袋口打开并固定[8]

2.2.1 伺服模组机构

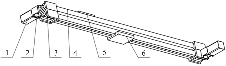
真空吸盘及抱夹只起到提取及固定阀口袋作用,为替代人工套袋,需要伺服模组机构传送抱夹和真空吸盘以将阀口袋传送至充填口。图6为伺服模组机构示意图,由电机、 联轴器、 轨道端盖、 轨道、 下轨道连接件、 上轨道连接件组成。

1—联轴器; 2—电机; 3—传送带;
4—气动杆; 5—抱夹臂; 6—抱夹。
图5 抱夹机构示意图
Fig.5 Schematic diagram of the clamping mechanism

1—电机; 2—联轴器; 3—轨道端盖; 4—轨道;
5—下轨道连接件; 6—上轨道连接件。
图6 伺服模组机构示意图
Fig.6 Schematic diagram of servo module mechanism

真空吸盘与抱夹运动轨迹不能位于同一条直线,为避免冲突,设计上、下2个轨道,真空吸盘在下轨道,抱夹在上轨道,各有相应的电机和联轴器,运动相互独立,互不干扰。

2.2 充填计量机构设计

目前,自动包装机采用的粉料供送方式主要有气动式、 振动式、 液压式、 机械式供送。考虑到充填速度、 精度等因素,本设计采用机械螺杆供送装置,其具有结构简单紧凑、 工作环境密闭、 维修方便等优点。

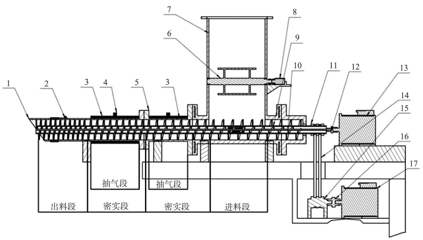
全自动包装机主要有容积式计量、 称重式计量、 和计数式计量的计量方法[9]。考虑到超细粉性质和包装精度等因素,本设计采用称重式计量装置。充填计量装置整体结构如图7所示。

1—出料嘴;2—膨胀气囊;3—微孔材料;4—排气孔;5—机壳;6—搅拌扇叶;7—料仓;8—搅拌扇叶电机;
9—外螺杆;10—内螺杆;11—上传动轮;12—内螺杆联轴器;13—内螺杆电机;
14—传动带;15—下传动轮;16—外螺杆联轴器;17—外螺杆电机。
图7 充填机构整体结构图
Fig.7 The overall structure of the filling mechanism

2.2.1 粉体的排气处理方式

包装袋内超细粉体含气量大,会直接影响超细粉的包装密度,降低包装充填效率,且难以精确控制超细粉的定量供给,并给超细粉包装袋的堆垛、运输等带来不便,因此需要对超细粉进行排气处理。现有粉体包装机的抽气以及振动密实装置脱气程度不高,效果并不理想,因此本设计采用变螺距螺杆为主要排气手段,实现粉体排气处理[10-12]

超细粉体在充填前的负压抽气过程如下:夹气超细粉进入变距螺杆后,变距螺杆通过减小螺距将粉体进行压缩,此外由于排气口外接负压抽气装置,所以气体可以通过微孔材料充分排出。经脱气后的超细粉体即可进行卸料充填,图8为真空抽气示意图,微孔材料只允许气体通过,粉体无法通过,螺旋套筒外有负压抽气装置。这种排气处理方式解决了超细粉体含气量大的问题,并且提高了脱气程度和包装填充效率。

1—微孔材料;2—排气口;3—粉体;4—粉体间气体。
图8 真空抽气示意图
Fig.8 Schematic diagram of vacuum pumping

2.2.2 充填螺杆的设计

结合超细粉体的夹气处理方式,充填螺杆选用等径变距螺杆[13-16],相对于普通的等径等距螺杆,变距螺杆可以使物料在充填中全面流动,提高送料的稳定性,提高输送效率。变距螺杆可以将粉体预压密实,结合真空抽气的夹气处理方案,实现粉体密实和排气同时进行,进一步降低物料含气量。变距螺杆示意图如图9所示,分为进料段、密实段、出料段,其螺距逐渐变小,达到粉料密实的目的。

图9 变距螺杆示意图
Fig.9 Schematic diagram of Variable pitch screw

为了提高充填机构的充填精度,本设计提出了一种单工位双螺杆设计。在同一工位上,内外2个螺杆相互配合实现快速充填和精准充填。

此单工位双螺杆的结构见图7,由外螺杆、 内螺杆、 内外螺杆电机、 联轴器、传动带、 传动轮组成。内螺杆设置在外螺杆的轴中,外螺杆对应料仓的部分设置有栅格孔,使粉料可以顺利落到内螺杆上。内螺杆连联轴器及电机,外螺杆连传动轮,通过传动带与下面的联轴器及电机相连。内外螺杆均为等径变距螺杆。电机控制内外螺杆的运转。

此单工位双螺杆的工作原理是,阀口袋套袋完成后,在系统的控制下,外螺杆工作,快速将超细粉料充填进阀口袋中,当充填超细粉料质量接近设定值时,外螺杆停止工作,反方向回旋两圈,将料嘴处粉料带回,内螺杆开始工作,进行精细补料,到达设定值后,内螺杆停止工作,回旋两圈,充填进料结束。

2.2.3 辅助部件的设计

1)搅拌扇叶。为解决料仓进料中的粉料搭桥问题,本设计选用了搅拌扇叶,搅拌扇叶在电机的带动下旋转,将结供的粉料搅开,保证粉料顺利落下,进入螺杆充填。

2)膨胀气囊。为固定袋口,本设计选用了一种膨胀气囊作为压袋机构的替代。图10为出料口部分结构图,此膨胀气囊环形放置在机壳靠近出料嘴处,当阀口袋袋口套进出料嘴后,气阀连接气缸,气囊充气膨胀,将袋口撑起,利用气囊和袋口的摩擦力来达到压袋的效果,同时使充填过程密封,防止粉体飞出,待充填完毕后,气阀泄气,气囊收缩,袋口可以移出。

3)斜切出料嘴。一般开袋机构的出料嘴为圆孔,并且采用充气方式进行套袋,容易污染超细粉体,使脱气后的粉体含气量增大。为简化开袋机构并减少对超细粉体的污染,设计中采用斜切出料嘴的形式,其结构见图10,在抱夹的作用下阀口袋袋口张开一定的角度,袋口在斜切面的引导下张开。使套袋更加简便清洁。

1—出料嘴;2—膨胀气囊;3—气阀;4—机壳。
图10 出料口部分结构图
Fig.10 Partial structure diagram of outlet

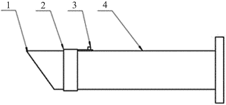
2.2 传送封合机构的设计

超细粉充填计量完成,进入传送及封合工序,将包装件运送到指定位置进行包装件的封合工作。此工序技术已经相当成熟,阀口袋袋口内侧材料适合热封合操作,因此,本设计在封合工序上选用常见的热封机构,并在包装件的运输上设计了移包送包机构。

超细粉充填计量结束,充填螺杆停止工作,膨胀气囊泄气收缩,袋口处压力消失,此时包装件在电子称重平台上。为了将充填好的阀口袋从出料嘴处移出,并放置到热封机构上,设计了包装件的移包送包机构,并选定封合机构,图11为传送封合机构示意图,主要由移包送包机构、传送带、热封机构成。其工作原理为,在充填工作完成后,移包送包装置在气动杆的作用下,将阀口袋向远离出料嘴的方向推动,袋口移出出料嘴,带动阀口袋在电机滑轨的作用下向传送带方向移动,其移动速度与传送带相同。当阀口袋位于传送带上后,移包送包机构松开阀口袋,后撤,回到出料嘴下,进入下一个循环作业,袋口在引导槽的引导下进入热封机的热封片中,进行袋口热封合。

1—充填机构;2—移包送包机构;3—传送带;
4—热封机;5—上热封片;6—下热封片;7—引导槽。
图11 传送封合机构示意图
Fig.11 Schematic diagram of transporting
and sealing mechanism

3 实体三维模型的建立

根据对各个机构的分析与选型,建立取袋上袋机构、充填计量机构、传送封合机构的模型,并实现了整体的装配,其三维效果图见图12。

图12 超细粉体包装机整体三维图
Fig.12 Overall three-dimensional drawing of
ultrafine powder packaging machine

4 结论

超细粉体清洁化包装机的方案设计主要包括超细粉包装的取袋上袋机构、 充填计量机构、 传送封合机构3个部分。取袋、 上袋机构由真空吸盘、 抱夹机构及伺服模组机构组成,真空吸盘和抱夹机构通过气动系统实现了自动吸取阀口袋并打开阀口的功能,同时借助伺服模组运送至填充口,达到了取袋上袋自动化的结果。粉料填充部分主要由变距螺杆、 负压抽气装置、 单工位双螺杆机构组成,解决了含气量高,清洁化等问题,达到了快速充填和精准充填相结合的目的。最后利用传送带传送到热封合机械进行封合工作,输出成品。

本方案设计机械结构紧凑,功能完整,各机构协调性达到预期目标,原理上能够解决超细粉包装过程中粉尘飞扬的清洁化问题,同时对降低包装内超细粉体的含气量提出了有效的解决方案。整机设计改善了超细粉包装过程的作业环境,降低了阀口袋包装的生产成本,促进了超细粉包装行业的清洁化、 自动化发展,推动相关技术的进一步研究。

参考文献

[1]许洪振. 方底阀口袋的应用及性能分析[J]. 国外塑料, 2010, 28(7): 47-48.

[2]潘松年. 包装工艺学[M]. 北京: 印刷工业出版社, 2011: 132.

[3]李培帅, 陆佳平, 蔡和平. 袜子挂标包装机技术方案设计[J]. 轻工机械, 2015, 33(4): 64-68.

[4]荣云, 李支茂, 谌永祥. 基于工业机器人的自动取袋称量装置的设计[J]. 机床与液压,2016, 44(3): 31-34.

[5]李雪梅, 潘晓戈, 谢宝耀, 等. 超细粉体阀口袋包装袋连续上袋机: 201510213980.8[P]. 2015-04-29.

[6]傅正兵. 基于仿生技术的取袋开袋机构设计[J]. 粮食与饲料工业, 2019, 42(2): 8-9.

[7]邱恩博, 邱宝玉, 陆志锋, 等. 上袋机撑袋式挑袋装置: 201610771967.9[P]. 2016-08-30.

[8]安徽信远包装科技有限公司. 基于双抱夹袋机构的超微细粉包装系统: 201710051840.4[P]. 2017-08-18.

[9]花志雄. 纸纱复合袋糊底机机械结构设计[D]. 甘肃: 兰州理工大学, 2013.

[10]夏梦, 陆佳平, 李国华, 等. 一种新型粽子真空软塑包装工艺[J]. 包装与食品机械, 2015,33(4): 45-47.

[11]营口瑞丰粉体设备有限公司. 一种粉体自动包装机真空抽气装置: 201821796952.9[P]. 2019-08-06.

[12]张开生. 粉体称重包装系统的设计与应用——适用含气粉料[J]. 衡器, 2018, 47(12): 7-10.

[13]郝友莉, 唐正宁, 季婷婷. 粉体包装机密实输送螺杆的设计[J]. 轻工机械, 2017, 35(5): 12-15.

[14]沈安峰, 崔鹏飞, 吴中军. 变距螺杆的设计[J]. 酒·饮料技术装备, 2015, 14(5): 60-62.

[15]李振亮, 付长江, 李亚. 定量螺旋给料机的结构研究[J]. 盐业与化工, 2010, 39(1): 27-29.

[16]付宇. 分件供送螺杆动力性与设计[D]. 陕西: 西安理工大学, 2017.

Design of ultra-fine powder cleaning valve bag packaging machine

ZHOU DanXIA RufeiLI GanJIANG YeSHI JiaxinWANG LiqiangLU Lixin

(College of Mechanical Engineering, Jiangnan University, Wuxi 214100, China)

Abstract: Aiming at the current problems of flying dust, low efficiency, serious material waste and low packaging accuracy in the domestic ultra-fine powder packaging process, a design scheme of a ultra-fine powder cleaning valve bag packaging machine was proposed. A single-station twin-screw mechanism was designed, combined with auxiliary mechanisms such as negative pressure extraction and filling mouth inflated gasbag, to achieve the cleaning of the ultra-fine powder valve pocket filling process. At the same time, the bag-removing, bag-feeding, bag-transporting, and bag-sealing mechanisms were designed, and solid modeling was performed through 3D solid software to build an overall solution for ultra-fine powder automated packaging. This design scheme realizes mechanical automation and improves the overall efficiency of the ultra-fine powder packaging system.

Keywords: ultra-fine powder; twin screw; valve bag; cleaning

文章编号:1008-5548(2020)06-0025-06

doi:10.13732/j.issn.1008-5548.2020.06.003

收稿日期: 2020-04-29, 修回日期:2020-05-15

基金项目:2019国家级大学生创新创业训练项目,编号:201910295015Z。

第一作者简介:周丹(1995—),女,硕士研究生,研究方向为包装工艺与机械。E-mail:zhoudan_dacy@163.com。

通信作者简介:王利强(1977—),男,博士,教授,硕士生导师,研究方向为包装技术与机械。E-mail:wlqcom@163.com。

中图分类号:TS95

文献标志码:A